RSB稱重傳感器詳細信息請點擊:意大利dini argeo稱重傳感器獲取最新報價!!!
產品品牌:意大利dini argeo(LOADCELL)
產品類別:雙剪切梁
產品系列:dini argeo橋式RSB系列稱重傳感器
產品型號:RSB-25000kg
產品描述:雙剪切梁式稱重傳感器特別適用于地上衡,汽車衡,電子地磅等,完整的支持和振蕩球體關節,CE-M認證。
意大利dini argeo RSB稱重傳感器特點
▲C3精度等級;
▲EXECUTED與激光SOLDERINGS鍍鎳鋼板;
▲精度高,線性度也與非互相垂直載荷;
▲經過優化,切合并聯;
▲IP68防護等級;
▲高達25000公斤能力;
▲SHIELDED TEFLON連接電纜;
▲測試證書應要求提供
意大利dini argeo RSB稱重傳感器技術特點
Minimum verification interval最小檢定分度:VMIN= EMax的/10.000;
Maximum number of load cell divisions負載細胞分裂的最大數量:NLC=3000(C3);
Full Scale Outpu滿量程輸出:2mV/ V +/ - 0.2%;
Temperature effect on full scale output溫度對滿量程輸出:0,0014%FS/℃;
Tempeature effect on the zero在零溫輻射作用:+ / - 0,0017%FS /℃;
Compensated temperature range補償溫度范圍:-10°C/+40°C;
Operating temperature range工作溫度范圍:-35°C/+65°C;
Creep error after 30 minutes;30分鐘后蠕變誤差:0.02%F.S;
Excitation voltage激勵電壓:5~18 VDC;
Input Resistance輸入電阻:700±7歐姆;
Output Resistance輸出電阻:700±7歐姆;
Zero Balance零點平衡:+/-1.5%F.S.;
Insulation resistance絕緣電阻>5000兆歐;
Safe overload安全過載>150%F.S.;
Maximum overload最大過載300%F.S.;
4芯屏蔽電纜,長12m。
|
Wiring Code
|
|
Colour
|
Function
|
|
--
|
SHIELD
|
|
GREEN
|
OUTPUT +
|
|
RED
|
INPUT +
|
|
WHITE
|
OUTPUT -
|
|
BLACK
|
INPUT -
|
意大利dini argeo RSB稱重傳感器防爆ATEX VERSION說明
該CCATEX證書,使稱重傳感器適用于與保護方法危險場所使用根據ATEX II1G防爆保險業監督IIC T6(大-20~+40°C)TX(大-20~+65°C)而ATEX II1D防爆TA IIIC TX°C(大-20~+40°C)TX°C(大-20~+65°C)達IP65。
該證書包括手冊和ATEX CE合格聲明(在EN,DE,FR可用,以及IT)
重要提示:該證書是指單個稱重傳感器。對于具有多個負荷傳感器系統,它是必要的訂購一個證書對每個測力傳感器。
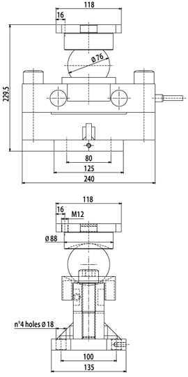
意大利dini argeo RSB稱重傳感器安裝尺寸

Models Available可選型號
|
Code
|
Max
(kg)
|
Masterpack
4 pcs
|
|
RSB25C3
|
25000
|
RSB25C3C
|
意大利dini argeo彎曲梁RSB稱重傳感器的批準稱重,自動系統,用量。量程范圍25000kg,如果您對意大利dini argeo品牌RSB傳感器還有其他疑問請來電咨詢!!!
|